HS Series Single Cylinder Hydraulic Cone Crushers
【Max Feed】 ≤560mm 【Discharging Opening】 22-83mm 【Capacity】 108-1050t/h
Key words:
Category:
Cone crusher series
Brief Introduction:
Applications:
Suitable Material:
HS Series Single Cylinder Hydraulic Cone Crushers


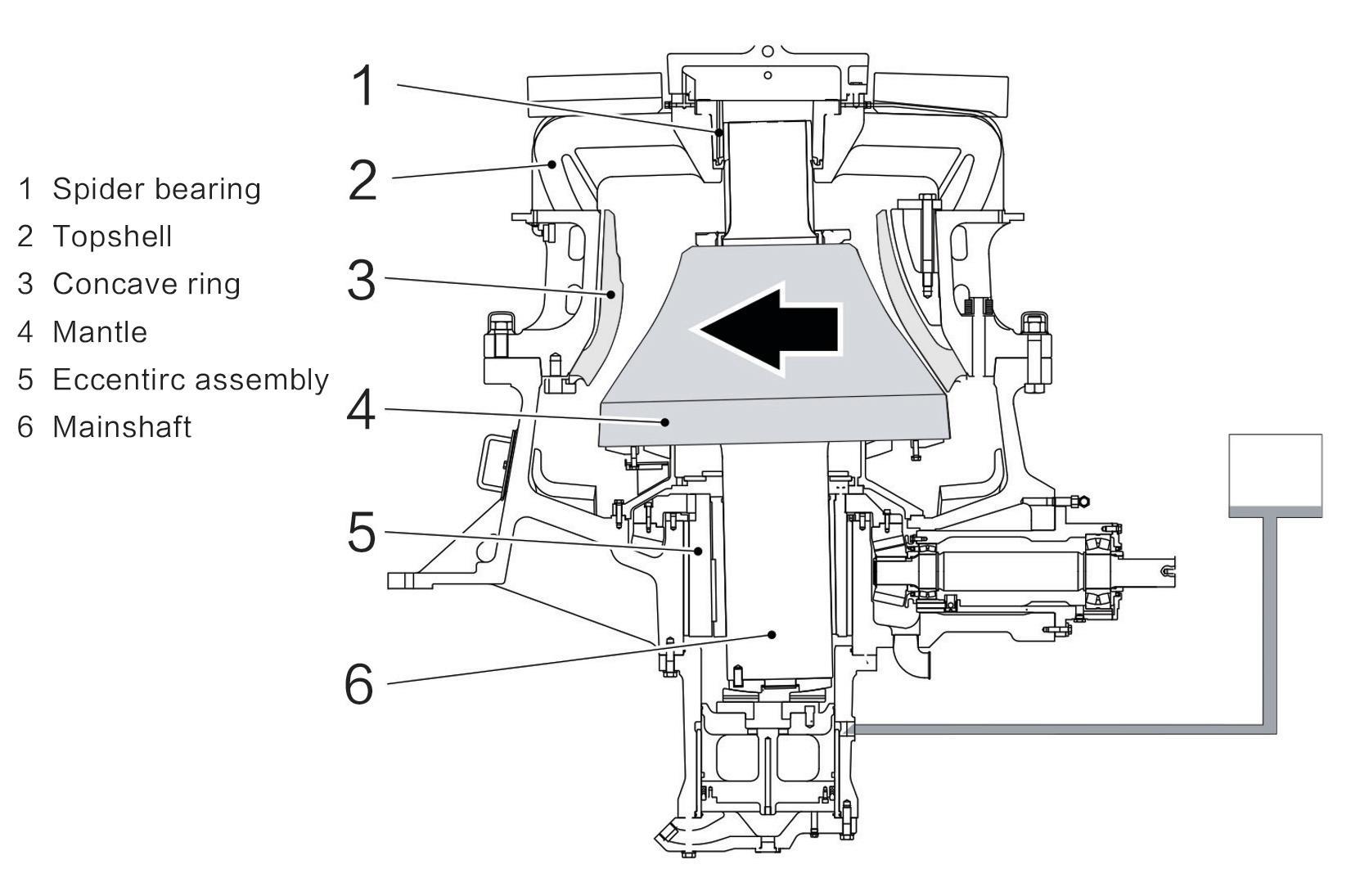
HSsingle cylinder hydraulic cone crusher is combined with technology such as machinery, hydraulic pressure, electricity, automation, intelligent control, etc., representing the most advanced crusher technology in the world. It is not only widely applied in medium, fine and super fine and super fine stone crushing industry, but also in such industries as metal and nonmetallic ore, cement, construction, sand making, metallurgy, etc. Besides, HH & HS series single cylinder hydraulic cone crusher is suitable to crusher iron ore, non-ferrous metal ore, granite, limestone, quartzite, sandstone, pebble, etc.



|
Model
|
Chamber (mm) |
Max Feeding (mm) |
Adjusting Range of Output Size (mm) |
Capacity (T/h) |
Power (kw) |
|
HS200 |
Coarse Extra Coarse |
200 240 |
19-32 22-38 |
70-112 85-143 |
90 |
|
HS300 |
Coarse Extra Coarse Medium Coarse |
300 360 235 |
22-48 25-54 19-48 |
108-327 126-214 91-275 |
160 |
|
HS400 |
Medium Coarse Coarse Extra Coarse |
300 400 450 |
25-51 29-51 35-54 |
195-461 225-333 267-601 |
250 |
|
HS600 |
Coarse Extra Coarse |
500 560 |
38-70 41-82 |
318-892 349-983 |
315 |
Leave A Message